•  0
    • Unbeatable prices
    • OE and Aftermarket parts
    • Click & Collect
    • Fast Delivery within UAE
    Unbeatable prices OE and Aftermarket parts Click & Collect Fast Delivery within UAE
    VIN Number
    i
    Manufacturer
    Step 1:

    Click here to select a manufacturer

    Model
    Step 2:

    Click here to select a model

    Version
    Step 3:

    Click here to select a Version

    Product number: 633708 | EAN: 4909500354100
    Properties
    Alles weergeven
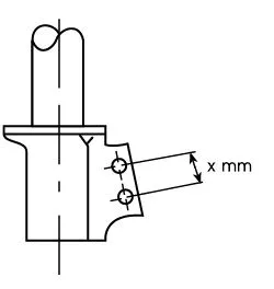
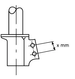
    Bore distance (mm) 58
    Shock absorber type oil pressure
    Shock absorber design suspension strut
    Shock absorber mounting type top pin
    Fitting position front axle

    Shock Absorber

    AED 200,55 Price incl. vat. 5%

    Your last viewed products (49)
    Applicability / OE numbers
    Manufacturer Model Version Engine code Construction type Construction start Construction end Pk Power kw
    RENAULT RENAULT
    Manufacturer Productnumber
    RENAULT 7700428115
    RENAULT 7700428438
    RENAULT 7700428602
    RENAULT 7700434925
    RENAULT 7700839379
    RENAULT 7700839382
    RENAULT 8200126408
    RENAULT 8200662260
    RENAULT 8200662261
    RENAULT 8200662263
    Usage numbers

    Yes you can return it free and easy withing 14 days.


    When the part number matches or when you buy our 100% fit service! When you buy our fit service we will check with the VIN number if the part fits 100%


    Yes when we have it on stock on one of our stores in Dubai or Al Ain. Please see the pickup date details on the product page, or call us for more the latest dispatch info or pickup times


    Yes on every purchase you have a year manufacturer warranty through the distributor.


    Our customers can pick it up, or we send our goods within 1 to 2 working days. So within 2 and 3 days, you will receive your parts if they are in stock at Partxl or at our manufacturers.


    Files
    bohrungsabstand-allg.bmp bmp 5.53 KB
    Alternative products (4)
    EAN code 4040074077764
    Productnumber 16-266230010
    Brand MEYLE
    Price incl. vat.AED 157,50
    EAN code 5907558535952
    Productnumber 11-0270
    Brand MAXGEAR
    Price incl. vat.AED 107,10
    EAN code 4909500353288
    Productnumber 333708
    Brand KYB
    Price incl. vat.AED 231,00
    EAN code 4909500637029
    Productnumber 333743
    Brand KYB
    Price incl. vat.AED 198,45

    Shock Absorber

    KYB

    KYB is a global leader in automotive suspension and hydraulic systems, renowned for delivering high-quality shock absorbers, struts, and hydraulic components. With decades of engineering expertise, KYB products are designed to enhance vehicle stability, ride comfort, and safety across passenger cars, commercial vehicles, and motorcycles. Trusted by both OEMs and the aftermarket, KYB combines advanced technology with rigorous testing to ensure durability, performance, and reliability under all driving conditions. Committed to innovation and precision engineering, KYB provides workshops, distributors, and drivers worldwide with solutions that optimize handling, reduce wear, and maintain optimal vehicle control, delivering a smooth and confident driving experience on every road.